时隔两个多月,香港证监会(SFC)的“股权高度集中”名单终于又更新了!
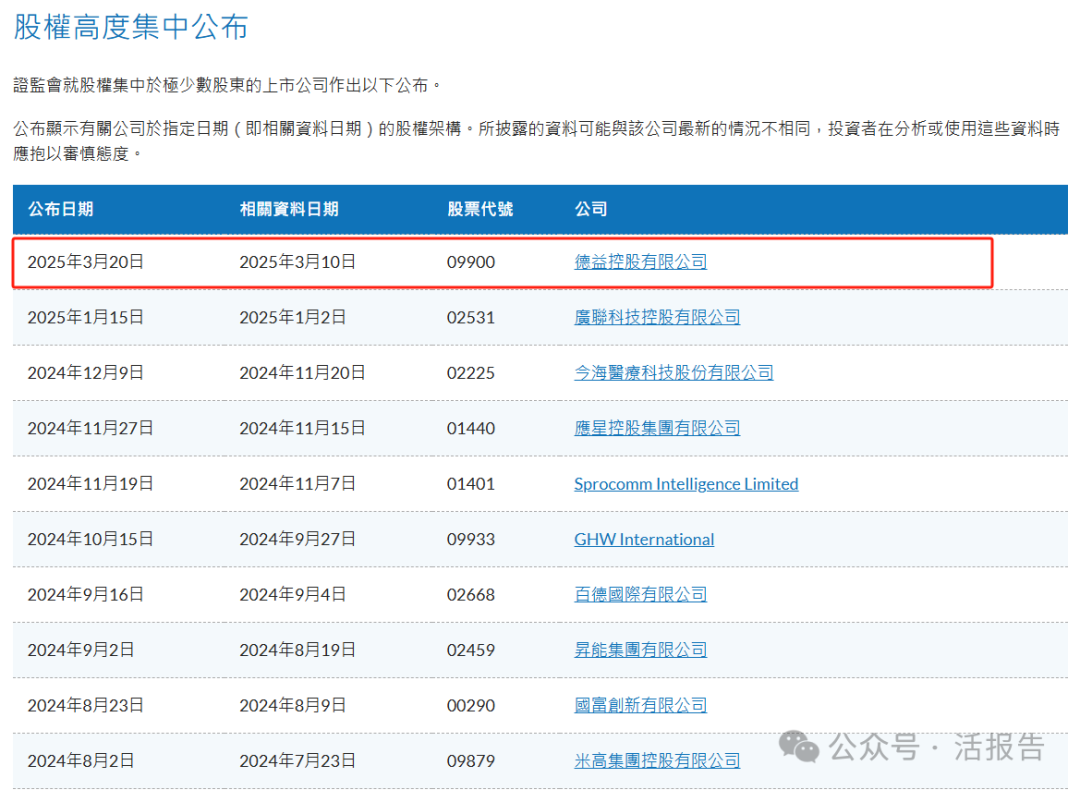
3月20日,香港证监会发布公告,将德益控股(9900.HK)列入股权高度集中名单之中,成为今年第二只被归入名单的“妖股”。此前半年,香港证监会基本保持了该名单每月“抓一只”的节奏。

证监会最近曾就该公司之股权分布进行查讯。查讯结果显示该公司于2025年3月10日,有二十五名股东及其相关人士合共持有162,208,000股该公司股份,相当于该公司已发行股本之43.60%。有关股权连同由两名该公司的主要股东持有之183,025,000股(占已发行股本49.21%),相当于该公司已发行股本之92.81%。因此,该公司只有26,767,000股(占已发行股本7.19%)由其他股东持有。

于2024年12月16日(该公司股份自2024年12月11日起之停牌期间),该公司公布Asia General Industries Limited以每股0.806港元要约价就收购该公司全部已发行股份作出强制性有条件现金要约。
该公司股份于2024年12月17日复牌后,该公司股份之收市价从2024年12月10日(停牌前之最后交易日)之2.02港元上升731.7%至2025年3月10日之16.80港元。
于2025年3月19日,该公司股价收报16.10港元,较2024年12月10日之收市价2.02港元高出697.0%。
鉴于股权高度集中于数目不多之股东,即使少量股份成交,该公司之股份价格亦可能大幅波动,股东及有意投资者于买卖该公司股份时务请审慎行事。
据捷利交易宝行情数据显示,截至3月20日收市,德益控股今日股价涨逾7.7%,较去年12月16日停牌前累计暴涨了7.6倍,最新市值达64.5亿港元。

文章来源:活报告公众号
1998-2026深圳市财华智库信息技术有限公司 版权所有
经营许可证编号:粤B2-20190408
粤ICP备12006556号