闪送于2024年9月13日向美股SEC披露招股书,拟在纳斯达克上市,股票代码为FLX,承销商包括中金、中信里昂、德银和瑞银。公司是中国最大的独立一对一专送快递服务提供商,已于7月8日通过中国证监会备案。
公司是为个人和企业客户提供一对一专送服务的先驱。根据招股书数据,按2023年收入衡量,公司是中国最大的一对一专送服务提供商,市场份额达33.9%。
截至2024年6月30日,公司拥有约270万注册骑手,服务覆盖中国295个城市。

财务业绩
2021、2022、2023年及2024年上半年,公司营收分别为人民币30.4亿、40亿、45.3亿及22.8亿元,相应的归母净利润分别为-4.2亿、-3.2亿、-0.4亿及0.5亿元。

行业概况
2019年至2023年,中国按需配送市场的总市场规模从1641亿元人民币增长到3385亿元人民币,复合年增长率为19.8%,预计到2028年将以19.1%的复合年增长速度增长到8096亿元人民币。预计2023年至2028年,中国独立按需专线快递市场将以27.8%的复合年增长率增长。

按2023年收入计算,闪送是最大的独立按需专线快递服务提供商。闪送还拥有按需专线快递服务提供商中最大的客户群,是中国第一个也是唯一一个成为按需专线快递代名词的品牌。

董事高管

主要股东
IPO前,公司创始人兼首席执行官Peng Xue持股22.7%;联合创始人兼执行总裁Hongjian Yu持股1.6%;Haibo Ru持股4.8%。机构股东中,海纳亚洲(SIG)、鼎晖投资和顺为资本分别持股9.7%、8.9%和7.8%。

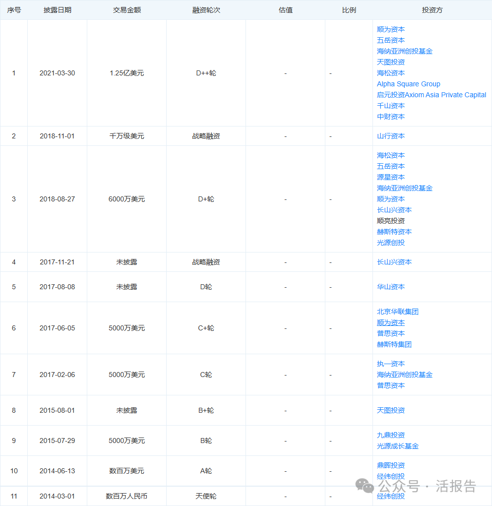
融资历程
自成立以来,公司已历经十余轮融资。2021年3月,公司完成1.25亿美元D2轮融资,投资方包括顺为资本、五岳资本、SIG海纳亚洲、天图投资、海松资本、Alpha Square Group、Axiom Asia Private Capital等。

文章来源:活报告公众号
1998-2026深圳市财华智库信息技术有限公司 版权所有
经营许可证编号:粤B2-20190408
粤ICP备12006556号