12月9日,香港证监会发布公告表示,今海医疗科技(2225.HK)股权高度集中。
证监会警示,鉴于股权高度集中于数目不多之股东,即使少量股份成交,该公司之股份价格亦可能大幅波动,股东及有意投资者于买卖该公司股份时务请审慎行事。

查讯结果显示该公司于2024年11月20日,有二十七名股东及其相关人士合共持有5.3328亿股该公司股份,相当于该公司已发行股本的41.26%。有关股权连同由该公司主席兼执行董事持有的6.325亿股(占已发行股本48.94%),相当于该公司已发行股本的90.20%。因此,该公司只有1.2672亿股(占已发行股本9.80%)由其他股东持有。
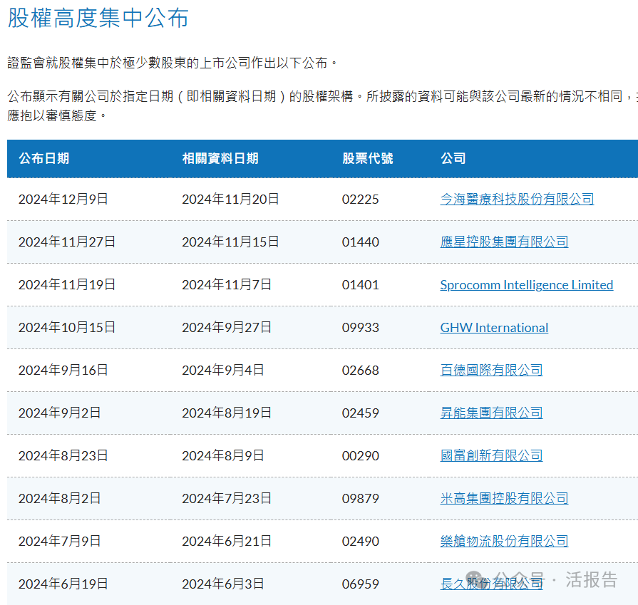
值得注意的是,今年以来证监会已经提示了10家公司股权高度集中的风险,包括长久股份、乐舱物流、米高集团、国富创新、昇能集团、百德国际、GHW、SPROCOMM INTEL、应星控股、今海医疗科技。

据香港证监会行政总裁梁凤仪女士表示,证监会设有团队“全天候”监察市场,未来将加强关注上市公司高度集中问题,尤其是对股价快速上升或下跌的公司。
有意思的是,这并非今海医疗科技(2225.HK)首次被证监会公开警告股权高度集中。

2021年7月26日,今海国际集团(2225.HK)就被警告过一次,但公司于2023年12月9日发布自愿公告表示解决了股权高度集中的问题。

根据恒生指数公司及港股通的纳入规则,上市公司需发布标题为“解决股权高度集中”的自愿性公告,以示公司已解决股权高度集中状况,并通过12个月的观察期后,才能获得重新考虑被纳入相关指数的选股范畴。
这意味着,本来今海医疗科技即将于2024年12月29日满足12个月的观察期,但现在又再次触犯股权高度集中的红线,未来一年内将不会获纳入恒生指数及港股通。
据LiveReport大数据,截至2024年12月9日,公司2024年以来的平均市值为65.04亿港元,已经高于恒生综合指数及港股通的纳入门槛。同时,截至12月9日,该公司年内涨幅高达266%。

文章来源:活报告公众号
1998-2026深圳市财华智库信息技术有限公司 版权所有
经营许可证编号:粤B2-20190408
粤ICP备12006556号